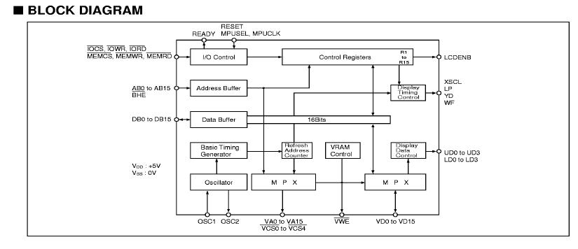
Product Summary
The SED1351F0A is a high-duty dot martrix graphic display LCD controller. The SED1351F0A can interface with an 8-bit or 16-bit MPU having a READY input pin. The SED1351F0A contains circuits that control all data and addresses for cycle steal operations and requires no external data/address control circuit.
Parametrics
SED1351F0A absolute maximum ratings: (1)supply voltage:VSS-0.3 to 7.0V; (2)input voltage:VSS-0.3 to VDD+0.3V; (3)output voltage:VSS-0.3 to VDD+0.3V; (4)output current:±10mA; (5)power dissipation:200mW; (6)supply current:±40mA; (7)storage temperature:-65 to 150℃; (8)soldering temperature and time:260℃, 10s.
Features
SED1351F0A features: (1)VRAM capacity:64k bytes; (2)LCD display modes: binary, gray; (3)LCD panel:single scan display, double scan display; (4)interface with MPU through use of ready signal; (5)capability of using virtual display panel; (6)smooth vertical scrolling; (7)chip select output for VRAM; (8)single power supply:5V±10%.
Diagrams

![]() |
![]() SED1335FOA |
![]() Seiko Instruments |
![]() LCD Drivers SMOS Controller Chip |
![]() Data Sheet |
![]() Negotiable |
|
||||
![]() |
![]() SED1278F/D |
![]() Other |
![]() |
![]() Data Sheet |
![]() Negotiable |
|
||||
![]() |
![]() SED1278F |
![]() Other |
![]() |
![]() Data Sheet |
![]() Negotiable |
|
||||
![]() |
![]() SED1278D |
![]() Other |
![]() |
![]() Data Sheet |
![]() Negotiable |
|
||||
![]() |
![]() SED1278 |
![]() Other |
![]() |
![]() Data Sheet |
![]() Negotiable |
|
||||
![]() |
![]() SED1240 |
![]() Other |
![]() |
![]() Data Sheet |
![]() Negotiable |
|
||||
(Hong Kong)








